Die DOBNER GUTWERT GmbH gehört zur Unternehmensgruppe
BRF FRIEDRICHSHAIN GmbH und ist Hersteller der abgehängten
ORIGINAL DOBNER Metalldecken

ORIGINAL DOBNER
Metalldecken Zubehör

Zubehör für die Installation von abgehängten
ORIGINAL DOBNER Metalldecken

Eine hervorragende Möglichkeit, Innenräume innovativ zu gestalten, ist der Einsatz einer hochmodernen, linearen, abgehängten ORIGINAL DOBNER Metalldecke aus superleichtem Aluminium. Damit schaffen Sie ein zeitgemäßes, hochmodernes und ästhetisches Raumdesign. Hervorzuheben ist die einfache Planung und die schnelle und kostengünstige Montage. DOBNER GUTWERT GmbH liefert Ihnen alles, was Sie zur Montage Ihrer Metalldecke benötigen und bietet Ihnen ein großes Sortiment an Zubehörteilen, die Sie in kleinen und großen Mengen bestellen können.

Zubehör für abgehängte Metalldecken:

1. Zubehör für Paneeldecken und Smart Baffles

2. Zubehör für die ballwurfsicheren Stahl-Paneeldecken

3. Zubehör für die Vertikal-Lamellendecken


1. Zubehör für die ORIGINAL DOBNER Paneeldecken, Smart Baffles und MW-Baffles M-150

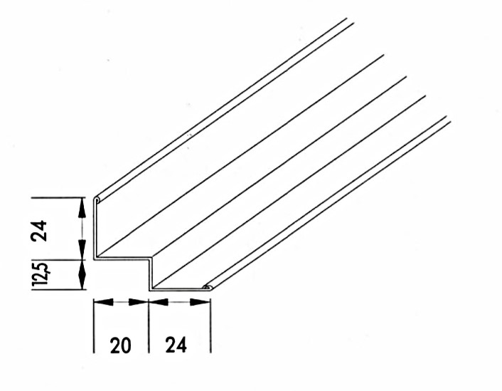
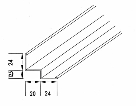
Die ORIGINAL DOBNER Paneeldecken-Tragschiene aus Aluminium

diese Tragschiene ist aus hochwertigem Aluminium hergestellt und beidseitig schwarz einbrennlackiert.

Die Materialstärke ist 0,8 mm
Die Länge ist max. 5000 mm (5,00 m)

Bemaßte Detailzeichnung  →→

Die ORIGINAL DOBNER Paneeldecken-Tragschiene aus Stahl

diese Tragschiene ist aus verzinktem Stahl hergestellt und beidseitig schwarz einbrennlackiert.

Die Materialstärke ist 0,5 mm
Die Länge ist max. 5000 mm (5,00 m)

Bemaßte Detailzeichnung  →→

Tragschiene mit Paneelen
TYP K84 - Modul 100

Tragschiene mit Paneelen
TYP K134 - Modul 150

Tragschiene mit Paneelen
TYP K184 - Modul 200

Tragschiene mit Paneelen
TYP K284 - Modul 300

Tragschiene mit Paneelen mit geschlossener Fuge

Typ K100 - K300
Module 100 - 300

Standard-Perforationen für ORIGINAL DOBNER Aluminium-Paneeldecken:

Lochbild RG 3019
Lochdurchmesser:    ca. 3,0 mm
Lochabstand:             ca. 6,0 mm
Lochreihen:                gerade
Freier Querschnitt:    19,6 %

Lochbild RV 2016
Lochdurchmesser:    ca. 2,0 mm
Lochabstand:             ca. 5,0 mm
Lochreihen:                60 diagonal versetzt
Freier Querschnitt:    16,0 %

Tragschienen-Verbinder für Paneeldecken

Hergestellt aus Aluminium, welches beidseitig schwarz einbrennlackiert ist. Zum korrekten Verbinden zweier Tragschienen.

Die Längsstöße der Tragschiene werden durch einclipsen des Tragschienen-Verbinders stabil verbunden.

Abhänger-Verlängerungsfedern

Werden mehr als 1.500 mm Abhhanghöhe gewünscht, ist der Einsatz von Verlängerungsfedern notwendig.
Damit ist ein stufenloses Regulieren der Bauhöhe auch bei extrem großen Abhanghöhen möglich.


Die Schnellabhänger

Hergestellt aus verzinktem Stahl mit Sicherungsschieber. Die kleinste Abhanghöhe beträgt bei Verwendung eines Abhängedrahtes min. 140 mm.

Die Abhängedrähte

Lieferbar von 125 mm bis 1500 mm.

Die Paneel-Verbinder

Hergestellt aus Aluminium, einseitig einbrennlackiert

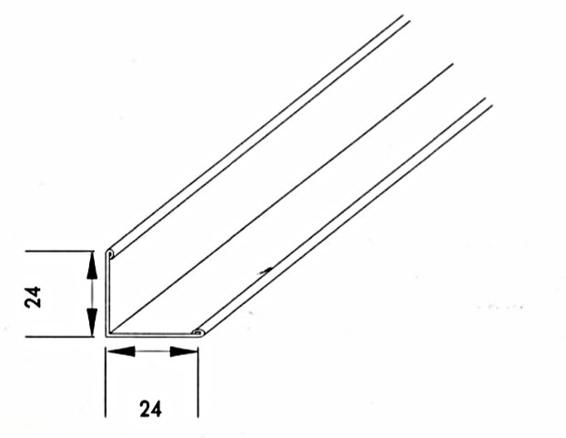
Wandwinkel aus Aluminium

Lieferbar in allen RAL-Farben und mit einer maximalen Länge von 3000 mm.

Stufen-Wandwinkel aus Aluminium

Lieferbar in allen RAL-Farben und mit einer maximalen Länge von 3000 mm. Zum Herstellen einer Schattenfuge im Wandbereich.

U-Aufsteckprofile und Füllprofile (zwischen den Paneelen) aus Aluminium

Lieferbar in allen RAL-Farben und mit einer maximalen Länge von 3000 mm.

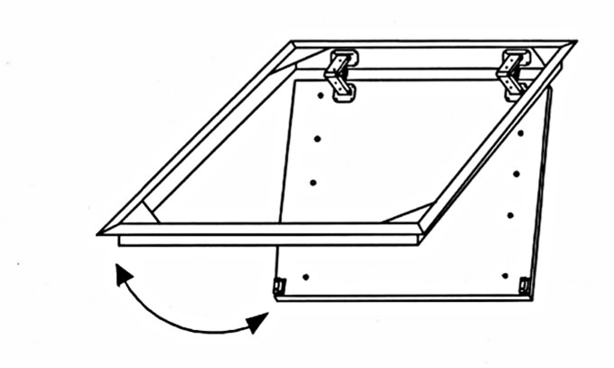
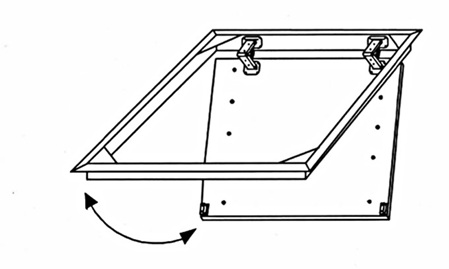
Revisionstüren

für den einfachen Zugang in den Deckenhohlraum. Diese Neuentwicklung gewährleistet ohne Einsatz von Werkzeugen das Öffnen und Schließen der Revisionsklappen.

Durch einfaches Anheben des Revisionsdeckels öffnet der Schließmechanismus automatisch. Zum Schließen der Deckel wieder nach oben drücken und die Revisionstür ist wieder fest arretiert.
Dieser Vorgang lässt sich ohne Beschädigungen beliebig oft wiederholen. In der Revisionsklappe sind bereits die Tragschienen integriert, auf diese können dann vor Ort die Paneele eingeclipst werden.

Übliche Abmessungen:

300 x 300 mm
400 x 400 mm
500 x 500 mm
600 x 600 mm

Andere Abmessungen auf Anfrage.

Akustikmatten

Material: Mineralwolle, 20 mm dick, mit einseitigem schwarzen Rieselschutzvlies kaschiert.

Akustikvliese

Material: Naturfaser oder 100 % synthetisch, schwarz durchgefärbt, riesel- und verrottungsfest, leicht zuschneidbar, umweltfreundlich, fungizid- und chemikalienbeständig

Zusatzmodule

Mit diesen Modulen können Sie problemlos Strahler, Leuchten und Lautsprecher in die Paneeldecke integrieren. Zusatzmodule werden generell separat abgehangen.

2. Zubehör für die ballwurfsicheren ORIGINAL DOBNER Sport-Paneeldecken aus robustem Stahl und die MW-Baffles M-100

Die Stahlpaneele

Paneelboden: 75 mm
Fuge: 25 mm
Modul: 100 mm
Paneelhöhe: 23 mm
Material: 0.8 mm sendzimirverzinktes Stahlblech, ungelocht
Sichtseite: weiß einbrennlackiert, Polyesterlack
Rückseite: schutzlackiert
Längen: in Längen bis 7000 mm

Bemaßte Detailzeichnung  →→

Die Tragschiene für Sportpaneele aus sendzimirverzinktem Stahl

Material: Stahl, verzinkt, 1 mm dick
Modul: 100 mm
Länge: 4000 mm

Bemaßte Detailzeichnung  →→

Paneel-Sicherungsclip

(Wichtig - sichert die Befestigung der Paneele auf der Tragschiene)

Material: Aluminium, 0,8 mm dick, 25 mm breit, schwarz lackiert

Tragschienenverbinder

Material: Aluminium, 0,8 mm dick, schwarz einbrennlackiert




Nonius Abhänger Oberteil

Material: Stahlblech, sendzimirverzinkt
Materialdicke: 1,00 mm
Längen: 150 mm bis 2000 mm




Nonius Abhänger Unterteil

Material: Stahlblech, sendzimirverzinkt
Materialdicke: 1,00 mm
Länge: 170 mm
 



Nonius Sicherungsstift

Zum Verbinden von Nonius-Oberteilen und Nonius-Unterteilen
Material: verzinkter Draht. Sie benötigen 2 Stück pro Abhänger.


Akustikplatten
Material: Mineralwolle, 20mm dick, einseitig mit
schwarzem Glasvlies kaschiert
Abmessung: 600 x 1250 mm
Gewicht: ca. 49 kg /m³
Brandverhalten: nach DIN 4102, nicht brennbar

3. Zubehör für die superleichten ORIGINAL DOBNER Vertikal-Lamellendecken

Abhänger-Verlängerungsfedern

Werden mehr als 1.500 mm Abhängehöhe gewünscht, ist der Einsatz von Verlängerungsfedern notwendig.
Damit ist ein stufenloses Regulieren der Bauhöhe auch bei extrem großen Abhängehöhen möglich.


Die Schnellabhänger

Hergestellt aus verzinktem Stahl mit Sicherungsschieber. Die kleinste Abhängehöhe beträgt bei Verwendung eines Abhängedrahtes min. 140 mm.

Die Abhängedrähte

Lieferbar von 125 mm bis 1500 mm.

Die Vertikal-Lamellen-Tragschiene aus Aluminium

diese Tragschiene ist aus hochwertigem Aluminium hergestellt und beidseitig schwarz einbrennlackiert.

Die Materialstärke ist 0,8 mm
Die Länge ist max. 3000 mm

Standard-Modul-Weiten (für größere Lamellen-Abstände):
100 mm
150 mm
200 mm 

Bemaßte Detailzeichnung  →→

Haben Sie noch Fragen zu den ORIGINAL DOBNER Abhangdecken? Bitte senden Sie uns eine E-Mail. Wir beraten Sie sehr gern!

So erreichen Sie uns:

DOBNER GUTWERT GMBH
Metalldeckenwerk

Grenzweg 7
03246 Crinitz (Brandenburg)
Germany

Telefon: +49 (0)30-421 98 130
E-Mail: mailto@dobner.eu

Höchste Qualität und Langlebigkeit!

Die kalkulierte Lebensdauer einer ORIGINAL DOBNER Metalldecke beträgt 50 Jahre. Die Aluminiumdecken rosten nicht und sind sehr leicht zu reinigen. Das Preis-Leistungsverhältnis gilt daher als eines der besten und günstigsten unter den vielfältig angebotenen Deckensystemen. 

NB 0800

Die ORIGINAL DOBNER Metalldecken sind geprüft und von der
MFPA Leipzig CE zertifiziert!